我们不定期在此更新CMS应用电影资源的使用教程,只为给您更好的服务!
必看提示:请站长采集 https 资源 http 容易被国内屏蔽 导致无法播放
======================================================
最大 zuidazy.com
高清画质 商业CDN 秒拖秒播 高峰期不卡
tg群:@zuidazyw
tg通知频道:@zdzywtz
提示:无法采集请加群私聊管理员加白名单
播放链接:点击测试播放链接(独行月球)
紧急公告: >>> 以往要替换的域名请点击进入查看 <<<
======================================================
本站图片地址后期将采用图床样式,可以调用, 采集的同时,也可以把图片下载到本地(推荐),以免杜绝日后出现类似图片失效的情况。
请按以下步骤进行:依次点击【数据采集】-【新增资源库】,然后依次输入
资源库名称:最大资源
zdm3u8接口地址地址:https://api.zuidapi.com/api.php/provide/vod/from/zuidam3u8/at/xml/
首页登录CMS管理后台:

然后点击左侧菜单的“数据采集”展开菜单并点击“采集管理”,打开采集管理后再点击“新增资源库”。

填入资源库资料,根据资源地址、采集来源及接口类型,点击测试所填信息是否有效,如果无效资源将不能添加。

采集资源匹配了目前流行的多个CMS系统,可根据你的接口来选择来源,推荐使用爱影CMS的专用接口保证数据的完整性。

将添加的资源库进行站点绑定,需要采集到哪个站点就绑定哪个站点

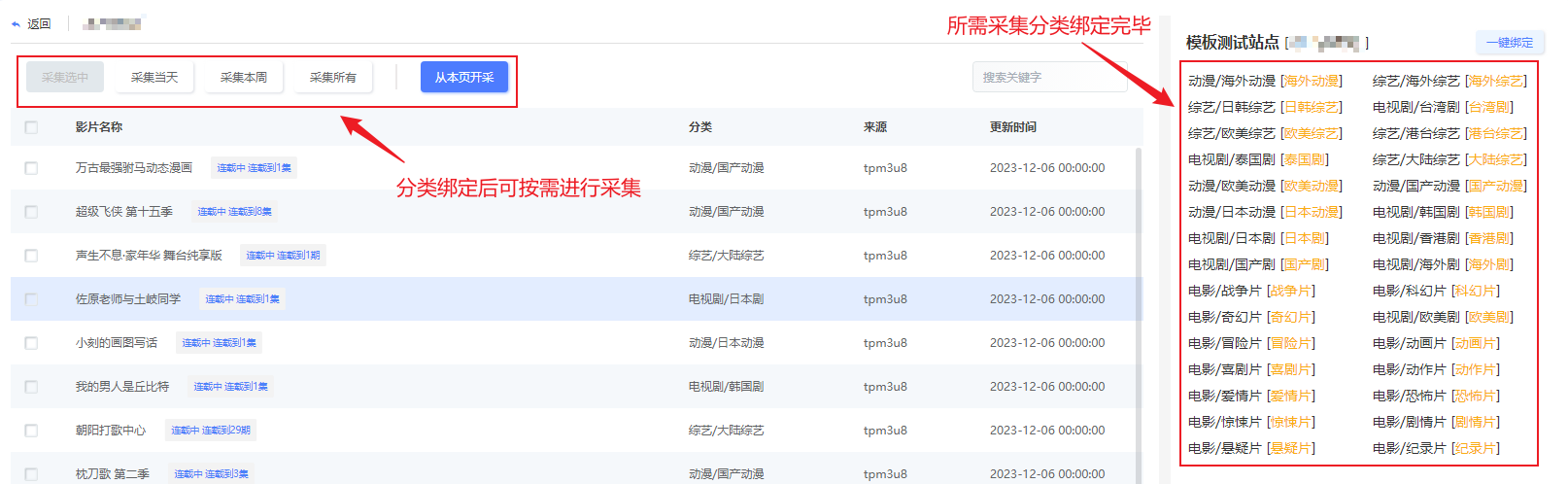
资源库添加成功后,接下来进行分类绑定,未绑定的分类数据将不能采集成功。

点击未绑定的分类进行分类绑定。

分类绑定完成后,就可以开始进行快捷采集了,或者搜索电影进行精细采集。


采集完成后,还可以查看本次采集记录。

可添加多个资源库进行采集,只要重复以上步骤即可。
有的会员朋友采集资源后,播放片源没有自动选择对应的数据,这种情况通常是因为没有添加对应的播放器导致!
工具软件-播放器管理
以zdm3u8的资源为例(还有一个zdm3u8)

本站采集插件已经可以适配海洋CMS,支持M3U8在线播放,快速更新,稳定播放!
请按以下步骤进行:依次点击【采集】-【资源库管理】,然后输入
资源库名称:最大资源站:
最大m3u8地址:https://api.zuidapi.com/api.php/provide/vod/from/zuidam3u8/at/xmlsea/
最大下载资源地址:https://api.zuidapi.com/api.php/provide/vod/from/http/at/xml/
点击【增加】按钮即可,具体操作如下图
请按以下步骤进行:依次点击【首页】-【快捷菜单】,然后输入
最大资源M3U8,admin_reslib.php?ac=list&rid=&url=https://api.zuidapi.com/api.php/provide/vod/from/zuidam3u8/at/xmlsea/
最大下载,admin_reslib.php?ac=list&rid=&url=https://api.zuidapi.com/api.php/provide/vod/from/http/at/xml/
点击【修改】按钮即可,具体操作如下图
刷新后,依次点击【首页】-【最大资源站采集】,即可看到资源库列表
如下图:
有的会员朋友采集资源后,播放片源没有自动选择对应的数据,这种情况通常是因为没有添加对应的播放器导致!
需要先再网站后台添加对应的播放器,然后再安装对应的播放器文件,才可以实现播放,以zuidam3u8播放器为例。
请按以下步骤进行:依次点击【系统】-【播放来源管理】
然后依次输入来源名称:最大m3u8 后缀:
点击【保存】按钮即可,具体操作如下图
此时因为我们添加了播放器,将不再提示暂没有数据,但是可能依旧不能播放,下载解析包替换js\player目录中的文件即可
【8.6及以下版本】 ||
【8.7及以上版本】
打开include\collection.class.php,查找下载地址一(大概在61行左右)
,上一行修改为
if($video->dl->dd[$i]['flag']=='down'||$video->dl->dd[$i]['flag']=='http')
如果需要替换下载地址一为其他,将其修改为自己想要的名称即可
海洋默认会将采集到的所有数据都归类到【下载地址一】,如果出现下载暂没有数据,通常可能是您改动了下载来源的名字,如果想归类到其他下载来源,请参照如何采集下载资源
本站采集插件已经可以适配苹果CMS,支持M3U8在线播放,快速更新,稳定播放!
请按以下步骤进行:依次点击【首页】-【快捷菜单配置】,然后添加下面内容
最大资源zm3u8,?m=collect-list-ac2--hour--xt-1-ct--group--flag-zdzy3-apiurl-https://api.zuidapi.com/api.php/provide/vod/from/zuidam3u8/at/xml/
最大资源(下载),?m=collect-list-ac2--hour--xt-1-ct-1-group--flag-zdzy3-apiurl-https://api.zuidapi.com/api.php/provide/vod/from/http/at/xml/
点击【保存】按钮即可,具体操作如下图

首次使用,需要绑定分类,如下图
收到很多会员朋友反馈说采集提示404,文件路径:admin_maccj.php
后分析代码发现是因为网址参数丢失导致
请手动修改浏览器的网址,在admin/后面加上index.php?m=admin-index即可正常采集
有的会员朋友采集资源后,播放片源没有自动选择对应的数据,这种情况通常是因为没有添加对应的播放器导致!
需要先再网站后台添加对应的播放器,才可以实现播放,以zuida的资源为例(注意要导入2个文件)【点击下载播放器文件】
添加播放器后需要点击右上角的清空缓存,至此,可以愉快的采集和播放了
执行参数:collect-cj-ac2-day-hour-24-xt-1-ct--group--flag-zdzy3-apiurl-https://api.zuidapi.com/api.php/provide/vod/from/zuidam3u8/at/xml/
设置自动采集请按照图片指引操作
在宝塔上绑定此定时任务
因和谐原因,一些域名备案被取消导致用户网站部分视频不可观看,我们会在第一时间替换上新的域名解决此问题
给用户增加重新替换播放地址的麻烦对此我们深感抱歉!
UPDATE {pre}vod SET d_playurl=REPLACE(d_playurl,
'原始字符串', '替换成其他字符串')
!!!请务必将sql语句中的字段填写正确,原始字符与替换字符请按照对应关系填写修改
本站采集插件已经可以适配苹果CMSV10,支持M3U8在线播放和云播,快速更新,稳定播放!
请按以下步骤进行:依次点击【采集】-【自定义资源库】-【添加】,在弹出的对话框中填写:
资源名称:最大m3u8,接口地址:https://api.zuidapi.com/api.php/provide/vod/from/zuidam3u8/at/xml/
资源名称:最大资源(下载),接口地址:https://api.zuidapi.com/api.php/provide/vod/from/http/at/xml/
接口类型:xml,资源类型:视频
资源名称:最大m3u8 json接口,接口地址:https://api.zuidapi.com/api.php/provide/vod/from/zuidam3u8/
接口类型:json,资源类型:视频
点击【保存】按钮即可,具体操作如下图
最大的下载资源添加采集【保存】按钮即可,具体操作如下图
下载资源要在附加参数:填写上 &ct=1
记得在这里选上!
有的会员朋友采集资源后,播放片源没有自动选择对应的数据,这种情况通常是因为没有添加对应的播放器导致!
需要先再网站后台添加对应的播放器,才可以实现播放。下载文件解压后按下图操作【下载播放器文件】
操作完成后点击后台右上角[清缓存],此时再看数据,已经可以正确的选择播放器并且可正常播放了
设置自动采集请按照图片指引操作
在宝塔上绑定此定时任务
本站采集插件已经可以适配飞飞影视系统PHP版(PPVOD)完美版,支持M3U8在线播放,快速更新,稳定播放!
请按以下步骤进行:依次点击【采集管理】>【一键采集视频】 如下图
修改Lib/Conf/config.php,在列表最后添加两行:
'zdyun'=> array('41','最大云'),
'zuidam3u8'=> array('42','最大m3u8'),
其中41修改成你实际的顺序,按照上一个播放器的id增加就可以。
添加播放器后点击右上角【清空缓存】,此时因为我们添加了播放器,后台会自动选中正确的播放片源
feifei5.0在技术测试时无法采集多组的播放地址,需要对系统文件做个小修改
打开Lib\Action\Admin\XmlAction.class.php滚动至文件最后,修改xml_url_replace方法为下文
public function xml_url_replace($playurl){
$plays = explode('$$$',$playurl);
$result = array();
foreach($plays as $play){
$array_url = array();
$arr_ji = explode('#',str_replace('||','//',$play));
foreach($arr_ji as $key=>$value){
$urlji = explode('$',$value);
if(count($urlji)==3){
$array_url[$key] = $urlji[0].'$'.trim($urlji[1]);
}else{
$array_url[$key] = trim($urlji[0]);
}
}
array_push($result,implode(chr(13),$array_url));
}
return implode('$$$',$result);
}
修改后结果请参考下图
本站xml接口适用于飞飞3.4或飞飞4,请站长根据自己的喜好选择使用
请按以下步骤进行:依次点击【采集】-【添加资源库】,然后依次输入
HTTPS资源名称:最大资源(zuida),接口地址:https://api.zuidapi.com/api.php/provide/vod/from/zuidam3u8/at/xml/
资源名称:最大资源站(下载资源),接口地址:https://api.zuidapi.com/api.php/provide/vod/from/http/at/xml/
迅雷资源的下载器默认就有,所以直接绑定采集就会有下载地址。
点击【提交】按钮即可,具体操作如下图
请按以下步骤进行:依次点击【视频】-【播放器设置】,然后在【添加播放器来源】依次输入
播放器名称:zuida 播放器标志:zuidam3u8
请按以下步骤进行:依次点击【系统】-【播放来源】,然后在【添加播放器来源】依次输入
播放器名称:zuida 播放器标志:zuidam3u8
点击【保存按钮】按钮即可
添加播放器后点击右上角【清空缓存】,此时因为我们添加了播放器,后台会自动选中正确的播放片源
另因为飞飞默认为云解析,可能不支持我们的资源,需要如下设置
本站采集插件已经可以适配MaxCms4.0,支持M3U8在线播放,快速更新,稳定播放!
第一步,下载所需插件【点击下载】,下载完成后上传文件到后台目录(默认为admin)
之后请按以下步骤进行:依次点击【首页】-【快捷菜单】,然后增加一行最大资源站,admin_okzy.asp
迅雷下载资源请,在增加一行最大资源迅雷资源,admin_okzydown.asp
点击【修改】按钮即可,具体操作如下图
第一个,修改admin\imgs\main.js,在列表最后添加两行:
if(str.indexOf('ckm3u8')>-1)
return "ckm3u8"
if(str.indexOf('kuyun')>-1) return "kuyun"
第二个,修改inc\playerKinds.xml,在列表最后添加两行:
<player open="1" sort="0"
flag="ckm3u8"
des="ckm3u8"><intro><![CDATA[无需安装任何插件,即可快速播放]]></intro></player>
<player open="1" sort="0" flag="kuyun"
des="kuyun"><intro><![CDATA[需要下载先锋影音播放器]]></intro></player>
此时因为我们添加了播放器,后台会自动选中正确的播放片源
但是可能依旧不能播放,下载解析包替换player\playdy目录中的文件即可【点击下载】
此引导可为广大站长自由设置播放器缓存加载
在网站目录中找到播放器Dplayer文件夹,找到hls.min.js文件并使用编辑器打开
找到需要修改的三个参数并修改,具体操作流程如下图:
填写完成保存
本站独特提供下载资源
1,视频列表地址 https://api.zuidapi.com/api.php/provide/vod/?ac=list
2,视频详情地址 https://api.zuidapi.com/api.php/provide/vod/?ac=detail
本站采集插件已经可以适配赞片CMS V9,支持M3U8在线播放,快速更新,稳定播放!
资源库名称:最大资源站-全网更新最快zuidazy.co
最大m3u8:https://api.zuidapi.com/api.php/provide/vod/from/zuidam3u8/at/xml/
最大资源网(迅雷资源):https://api.zuidapi.com/api.php/provide/vod/from/http/at/xml/
请按照下图所示打开添加采集页面并添加采集api
最大资源综合添加方法如下图:最大资源站-全网更新最快zuidazy.co
最大资源(视频下载)添加方法如下图
有的站长朋友采集资源后,播放片源没有自动选择对应的数据,这种情况通常是因为没有添加对应的播放器导致!
需要先再网站后台添加对应的播放器,才可以实现播放,具体操作流程如下图:
在弹出的窗口中,填写下方的信息
播放器名称:最大m3u8 播放器标识:zuidam3u8
解析地址:https://jx.zuidplay.com/?url=
另一个是
播放器名称:最大视频下载 播放器标识:http
解析地址:留空
填写完成后点击最下方的[确定]按钮即可
全部操作完成后点击[清空缓存]
此时再看数据,已经可以正确的选择播放器并且可正常播放了
本站采集插件已经可以适配多米CMS,支持M3U8在线播放,快速更新,稳定播放!
本站备用采集地址: 请将api.zuidazy.co替换为 www.apiokzy.com 即可!

需要采集时,依次点击【采集】-【采集资源库列表】-最大资源站具体操作如下图
有的会员朋友采集资源后,播放片源没有自动选择对应的数据,这种情况通常是因为没有添加对应的播放器导致!
需要先再网站后台添加对应的播放器,然后再安装对应的播放器文件,才可以实现播放。
以ckm3u8播放器为例(还有一个kuyun播放器哟)
请按以下步骤进行:依次点击【全局】-【播放来源】
然后依次输入来源名称:ckm3u8 后缀:ckm3u8
点击【保存】按钮,提示成功后点击【更新】即可,具体操作如下图
此时因为我们添加了播放器,将不再提示暂没有数据,但是可能依旧不能播放,下载解析包替换\player\html目录中的文件即可【点击下载】